NURAL
8712340720
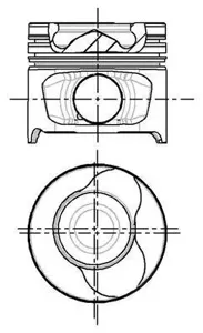
Поршень, комплект
2
6509
NURAL 8712340720 Поршень, комплект